logo
Меню
РИФ-АТ-I-II 275_125-В.png cбоку.png image (54).png

РИФ-АТ-I+II 275 / 12,5-В

  • Артикул 111021
  • UN 230 В
  • Iimp 12.5 кA
  • In 20 кА
Остались вопросы? Обращайтесь по телефону +7 812 327-08-08,
e-mail order@streamer.ru или в Telegram

УЗИП КЛАССА I+II ДЛЯ СИСТЕМ ЭЛЕКТРОСНАБЖЕНИЯ ЖАТ

УЗИП класса I+II ограничивающего типа, предназначено для защиты оборудования систем электроснабжения до 1000 В и аппаратуры железнодорожной автоматики и телемеханики (ЖАТ) по цепям питания от вторичных воздействий молнии и коммутационных перенапряжений.
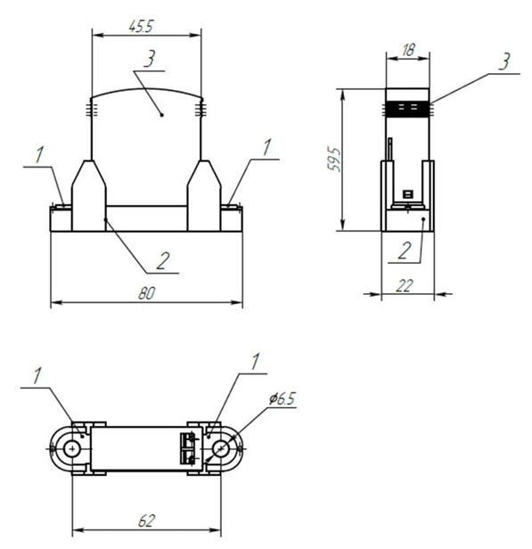
УЗИП состоит из колодки и сменного рабочего модуля с терморасцепителем и индикатором состояния рабочего элемента. 
Конструкция УЗИП предусматривает установку на стандартную двуштырную клеммную колодку 6056Б-01-00 (в комплект не входит).

УЗИП выдерживает токовые нагрузки, соответствующие УЗИП класса I, а по способности ограничения импульсных напряжений, допустимых для изоляции оборудования, соответствует УЗИП класса II.

Устанавливается в пределах 0А(В) – 1 зон молниезащиты, в соответствии с ГОСТ Р МЭК 62305-1 и СО-153-34.21.122).

УЗИП снабжено:

  • терморасцепителем;

  • визуальным индикатором.

Сертификаты: декларация о соответствии требованиям ТР ТС 004/2011 «О безопасности низковольтного оборудования»

Технические характеристики

Наименование параметра

РИФ-АТ-I+II 275/12,5-В

Номинальное рабочее напряжение UN

230 В

Максимальное длительное рабочее напряжение AC / DC Uc

275/ 350 B

Импульсный ток (10/350 мкс) Iimp

12.5 кA

Номинальный разрядный ток (8/20 мкс) In

20 кА

Максимальный разрядный ток (8/20 мкс) Imax

40 кА

Уровень напряжения защиты при Iimp / In Up

≤ 1,1 кВ / ≤ 1,5 кВ

Время срабатывания ta ≤ 25 нс
Диапазон рабочих температур Tu

От -40С до +80С

Категория исполнения (ГОСТ 14254)

IP 20

Способ монтажа

Двуштырная клеммная колодка 6056Б-01-00

Артикул

111 021