logo
Меню
РИФ-АТ-II 175_20-В.png cбоку.png image (54).png

РИФ-АТ-II 175 / 20-В

  • Артикул 121006
  • UN 110 В
  • Imax 40 кA
  • In 20 кА
Остались вопросы? Обращайтесь по телефону +7 812 327-08-08,
e-mail order@streamer.ru или в Telegram

УЗИП КЛАССА II ДЛЯ СИСТЕМ ЭЛЕКТРОСНАБЖЕНИЯ ЖАТ

УЗИП класса II ограничивающего типа, предназначено для защиты оборудования систем электроснабжения до 1000 В и аппаратуры железнодорожной автоматики и телемеханики (ЖАТ) по цепям питания от вторичных воздействий молнии и коммутационных перенапряжений.
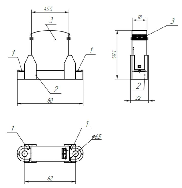
УЗИП состоит из колодки и сменного рабочего модуля с терморасцепителем и индикатором состояния рабочего элемента. 

Конструкция УЗИП предусматривает установку на стандартную двуштырную клеммную колодку 6056Б-01-00 (в комплект не входит).

Устанавливается в пределах 1 – 2 зон молниезащиты, в соответствии с ГОСТ Р МЭК 62305-1 и СО-153-34.21.122).


УЗИП снабжено:
  • терморасцепителем;
  • визуальным индикатором.
Сертификаты: декларация о соответствии требованиям ТР ТС 004/2011 «О безопасности низковольтного оборудования»

Технические характеристики

Наименование параметра

РИФ-АТ-II 175/20-В

Номинальное рабочее напряжение UN

110 В

Максимальное длительное рабочее напряжение AC / DC Uc

175 / 225 B

Номинальный разрядный ток (8 / 20 мкс) In

20 кА

Максимальный разрядный ток (8 / 20 мкс) Imax

40 кА

Уровень напряжения защиты  Up

≤ 0,8 кВ

Время срабатывания ta ≤ 25 нс
Диапазон рабочих температур Tu

От -40С до +80С

Категория исполнения (ГОСТ 14254)

IP 20

Способ монтажа

Двуштырная клеммная колодка 6056Б-01-00

Артикул

121 006