logo
Меню
РИФ-АТ-III 30_10-В.png cбоку.png image (54).png

РИФ-АТ-III 30 / 10-В

  • Артикул 131004
  • UN 24 B
  • Imax 20 кA
  • In 10 кА
Остались вопросы? Обращайтесь по телефону +7 812 327-08-08,
e-mail order@streamer.ru или в Telegram

УЗИП КЛАССА III ДЛЯ СИСТЕМ ЭЛЕКТРОСНАБЖЕНИЯ ЖАТ

УЗИП класса III ограничивающего типа, предназначено для защиты оборудования систем электроснабжения до 1000 В и аппаратуры железнодорожной автоматики и телемеханики (ЖАТ) по цепям питания от вторичных воздействий молнии и коммутационных перенапряжений.
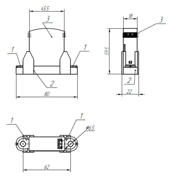
УЗИП состоит из колодки и сменного рабочего модуля с терморасцепителем и индикатором состояния рабочего элемента. 

Конструкция УЗИП предусматривает установку на стандартную двуштырную клеммную колодку 6056Б-01-00 (в комплект не входит).

Устанавливается в пределах 2 – 3 зон молниезащиты, в соответствии с ГОСТ Р МЭК 62305-1 и СО-153-34.21.122).

УЗИП снабжено:
  • терморасцепителем;
  • визуальным индикатором.
Сертификаты: декларация о соответствии требованиям ТР ТС 004/2011 «О безопасности низковольтного оборудования»

Технические характеристики

Наименование параметра

РИФ-АТ-III 30/10-B

Номинальное рабочее напряжение UN

24 В

Максимальное длительное рабочее напряжение AC / DC Uc

30 / 38 B

Номинальный разрядный ток (8 / 20 мкс) In

10 кА

Максимальный разрядный ток (8 / 20 мкс) Imax

20 кА

Уровень напряжения защиты  Up

≤ 0,4 кВ

Время срабатывания ta ≤ 25 нс
Диапазон рабочих температур Tu

От -40С до +80С

Напряжение комбинированной волны Uос  6 кВ
Категория исполнения (ГОСТ 14254)

IP 20

Способ монтажа

Двуштырная клеммная колодка 6056Б-01-00

Артикул

131 004